零代码设备巡检系统:提升设备管理效率的利器
在现代工业生产中,设备的稳定运行是企业正常生产的关键。为了确保设备的可靠性和安全性,设备巡检系统成为了企业不可或缺的工具。而零代码设备巡检系统以其独特的优势,为企业的设备管理带来了全新的体验。

目前,市场上的巡检系统种类繁多,但零代码设备巡检系统凭借其简单易用、功能强大等特点,逐渐受到企业的青睐。
一、零代码设备巡检系统主要有哪些功能?
1、设备台账
零代码设备巡检系统支持手动、批量或者生成空白码录入设备信息等方式将企业设备信息上传到中设备巡检系统中,生成设备管理台账,包括设备名称、编号、型号、负责人、过保时间等信息。
零代码设备巡检系统能够为每台设备自动生成专属二维码,扫描设备二维码便可以看到设备的基础信息及履历。且可以进行扫码报修、扫码巡检等。
通过零代码设备巡检系统,可以清楚的了解每台设备的运行情况,包括设备运行异常、过保运行、停机检修、已报废等,并且通过零代码巡检系统能够对设备进行线上进行报废、调拨、删除等操作。
2、设备维修报修
当设备出现故障时,操作人员可以通过零代码设备巡检系统及时提交维修报修申请。报修申请中包含设备的基本信息、故障描述、照片等资料,方便维修人员快速了解故障情况。维修人员接到报修申请后,可以在系统中查看设备的历史维修记录和相关资料,制定合理的维修方案。
3、设备巡检
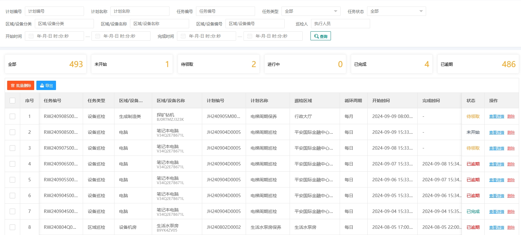
设备巡检是定期对设备进行全面检查的过程,旨在及时发现设备的潜在问题。巡检人员可以通过零代码设备巡检系统,制定专属设备巡检计划,按照巡检任务进行设备巡检并对巡检项目进行逐一检查。
在巡检过程中,巡检人员可以通过文字、拍照、录像等方式记录设备的实际情况。零代码设备巡检系统会自动将巡检数据上传至云端,方便管理人员随时查看和分析。并且对于巡检异常项目,零代码设备巡检系统能够自动进行故障报修,维修人员能够通过零代码设备巡检系统及时收到维修请求,确保巡检问题及时有效解决。
4、设备维护配件管理
通过零代码设备巡检系统能够对设备配件进行统一管理,包括配件名称、型号、库存等及出入库盘点、折损等操作。
零代码设备巡检系统各模块之间互相关联,在设备维修过程中可以直接进行配件领用,零代码设备巡检系统会自动生成出入库记录及配件使用记录,方便数据查询及追溯。

二、零代码设备巡检系统的优势主要体现在以下几个方面:
简单易用
零代码设备巡检系统不需要专业的编程知识,用户可以通过导入、点击等简单操作,快速搭建自己的设备巡检系统。这使得企业能够快速部署和使用零代码设备巡检系统,提高工作效率。
个性化定制
零代码设备巡检系统可以根据企业的实际需求,定制个性化的巡检流程、表单和报表。企业可以根据自己的设备特点和管理要求,灵活设置巡检项目、巡检周期和巡检标准,满足不同企业的差异化需求。
实时数据传输
巡检人员在现场采集的数据可以实时上传至云端,管理人员可以随时查看设备的运行情况和巡检记录。这有助于管理人员及时发现问题,做出决策,提高设备管理的及时性和准确性。
数据分析与决策支持
零代码设备巡检系统可以对大量的巡检数据进行分析和挖掘,生成各种报表和图表,为企业的设备管理决策提供数据支持。通过数据分析,企业可以了解设备的运行趋势、故障规律等信息,优化设备维护计划,降低设备故障率。

总之,零代码设备巡检系统以其强大的功能和优势,为企业的设备管理提供了全方位的支持。零代码设备巡检系统不仅可以提高设备巡检的效率和准确性,还可以降低设备故障率,延长设备使用寿命,为企业的稳定生产和发展提供有力保障。
相关新闻
- 青鸟报修云人员配置功能详解:三步告别派单错误,提升报修效率
- 青鸟报修云——企业智能报修管理系统 | 30秒扫码报修,全流···
- 巡检管理数字化方案:青鸟报修云支持设备巡检、区域巡检,自动排···
- 报修流程简化方案:青鸟云报修助力企业实现报修全流程数字化
- 智能巡检App与小程序对比:青鸟云报修提供灵活选型方案,免费···
- 智慧报修系统:7步闭环,免费试用7天
- 智能工单系统:7大核心能力构建企业服务管理闭环,免费试用7天
- 企业级智能工单系统 | 青鸟报修云 · 让服务更高效、更透明
- 售后维修管理系统核心功能解析:从智能派单到数据决策,助力管理···
- 青鸟报修云 | 工单管理:自动生成维修报告,全程可溯
