工单管理软件怎么选?这些优势你要知道
在当今数字化飞速发展的时代,企业的高效管理离不开先进的工具。工单管理软件作为企业管理中的重要一环,其选择至关重要。那么,究竟工单管理软件哪个好呢?一个优秀的工单管理软件又该具备哪些功能优势呢?

随着企业业务的不断拓展和规模的日益扩大,传统的工单管理方式已难以满足复杂的业务流程。随着工单管理软件的出现,为企业开启了数字化工单管理的新篇章。
一、高效的流程管理
一个出色的工单管理软件应具备高效的流程管理功能。从工单的创建开始,工单管理软件可以实现自动化的流程推进。
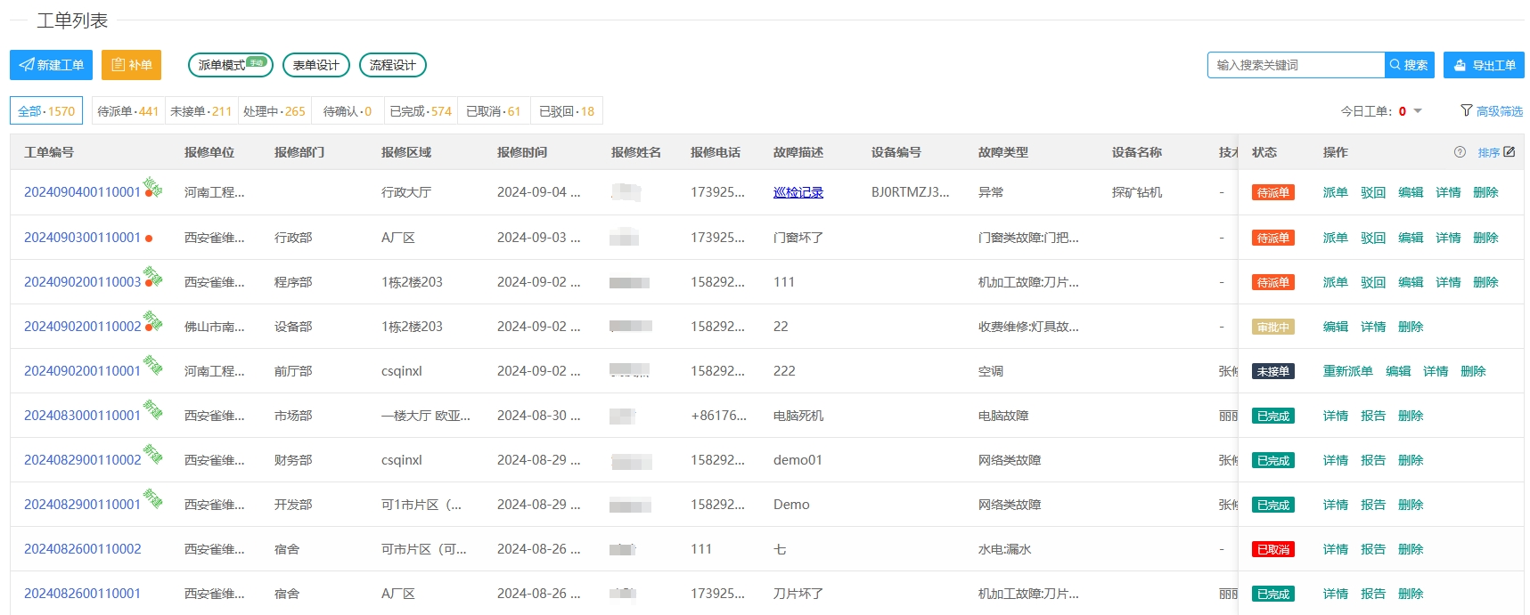
在工单的流转过程中,工单管理软件可以清晰地展示每一个环节的状态。
二、智能的派单功能
智能派单是工单管理软件的核心优势之一。工单管理软件可以根据多种因素进行智能分配工单,如维修人员的技能专长、工作量、地理位置等。
三、实时的状态追踪
实时追踪工单状态对于企业和客户来说都意义重大。通过工单管理软件,客户可以随时查看自己提交的工单处理进度,如是否已经分配维修人员、预计完成时间等。
企业内部的管理人员也能实时掌握所有工单的状态,及时发现问题并进行协调处理。

四、全面的设备管理集成
工单管理软件如果能与设备管理功能进行有效集成,将发挥更大的作用。在设备管理方面,工单管理软件可以对企业的所有设备建立详细的设备电子档案。当设备出现故障并生成工单时,维修人员可以直接在工单管理软件中查看设备的详细信息,包括设备型号、购买日期、维修历史等。
同时,设备的巡检工作也可以与工单管理相结合。在巡检过程中发现的设备问题工单管理软件可以自动转化为工单,进入报修、维修流程。这不仅提高了设备管理的效率,也使工单管理更加全面和深入。
五、强大的数据分析能力
数据分析是工单管理软件的另一个重要优势。工单管理软件可以对大量的工单数据进行收集和分析,生成各种有价值的报表。例如,通过分析工单的类型、处理时间、客户满意度等数据,企业可以了解自身业务的薄弱环节,制定针对性的改进措施。
六、便捷的移动端支持
在移动办公日益普及的今天,工单管理软件具备移动端支持功能显得尤为重要。维修人员、巡检人员等可以通过手机、平板电脑等移动设备随时随地接收工单、查看工单信息、更新工单状态等。这打破了时间和空间的限制,提高了工作的灵活性和效率。

综上所述,一个好的工单管理软件应具备高效的流程管理、智能派单、实时状态追踪、设备管理集成、强大的数据分析能力以及便捷的移动端支持等功能优势。在选择工单管理软件时,企业应根据自身的业务需求和管理特点,综合考虑这些因素,选择最适合自己的软件,从而实现企业管理的数字化转型,提升企业的核心竞争力。
相关新闻
- 青鸟报修云人员配置功能详解:三步告别派单错误,提升报修效率
- 青鸟报修云——企业智能报修管理系统 | 30秒扫码报修,全流···
- 巡检管理数字化方案:青鸟报修云支持设备巡检、区域巡检,自动排···
- 报修流程简化方案:青鸟云报修助力企业实现报修全流程数字化
- 智能巡检App与小程序对比:青鸟云报修提供灵活选型方案,免费···
- 智慧报修系统:7步闭环,免费试用7天
- 智能工单系统:7大核心能力构建企业服务管理闭环,免费试用7天
- 企业级智能工单系统 | 青鸟报修云 · 让服务更高效、更透明
- 售后维修管理系统核心功能解析:从智能派单到数据决策,助力管理···
- 青鸟报修云 | 工单管理:自动生成维修报告,全程可溯
